meter halaju air digital Jenis Menegak
LXZ1 adalah jenis menegak kawalan jauh meter air pintar, mengukur air boleh digaul sejuk untuk permohonan kediaman dalam saiz 15mm-25mm untuk air sejuk.
Ciri
* Mengguna pakai mod komunikasi M-BUS atau RS485.
* Bahagian elektronik dimeteraikan secara berasingan, dan bukti air boleh menjadi IP68.
* Ketepatan tertinggi, ralat terendah, kadar aliran permulaan yang rendah.
* Pelbagai jet kering jenis air.
* Pemacu magnetik, rintangan penghantaran yang lebih rendah, tahan katak. * Perisai magnetik, untuk perlindungan medan magnet luaran
* Penggunaan kuasa yang rendah.
* Menjadi stabil dan boleh dipercayai oleh ciri-ciri "pengenalpastian kedudukan" teknologi fotoelektrik dan mikroelektronik.
* Bacaan dan pengurusan automatik.
* Setiap meter mempunyai nombor lokasi yang unik, pembinaan wayar mudah.
Pematuhan Standard
Data teknikal mematuhi piawaian ISO 4064 Kelas B, Kelas C, R80, R100, R125 atau R160 standard untuk pemasangan mendatar.
Ciri Pilihan
* Badan meter: Tembaga dan besi untuk dipilih.
* Mod antaramuka komunikasi: antaramuka RS485 atau antaramuka MBUS (pilihan)
* Kadar penghantaran komunikasi: 1200bps, 2400bps, 4800bps atau 9600bps (pilihan)
*Spesifikasi komunikasi: Perjanjian CJ/T188-2004, DL/T645-2007 atau Perjanjian MODBUS (pilihan), atau perjanjian khas yang akan dibuat untuk memerintahkan.
Syarat-syarat Bekerja
*Bekalan Kuasa: DC 9-24V (antara muka RS485) dan DC24-42V(antaramuka MBUS);
* Kelembapan: 0~95% RH
*Jarak antara pengumpul data dan meter: ≤300m;
* Penggunaan kuasa: ≤1uA (Statik Bekerja Semasa); ≤12uA (arus segera semasa bacaan jauh)
* Suhu air: ≤50ºC untuk meter air sejuk
* Suhu air: ≤90ºC untuk meter air panas
* Tekanan air: ≤1MPa atau 1.6MPa pilihan (10bar atau 16bar pilihan)Keperluan pemasangan
*Meter hendaklah dipasang dalam kedudukan menegak dengan arah aliran seperti yang ditunjukkan oleh anak panah yang dibuang dalam badan meter dengan muka daftar ke atas. *Talian paip mesti dibuang sebelum pemasangan. *Meter hendaklah sentiasa penuh dengan air semasa operasi.
Ralat Maksimum Yang Dibenarkan
Di zon yang lebih rendah daripada Qmin(Q1) termasuk sehingga tetapi tidak termasuk Qt (Q2) ±5%. Di zon atas dari Qt(Q2) termasuk sehingga dan termasuk Qmax(Q4) adalah ±2% (meter air sejuk).
Di zon atas dari Qt(Q2) termasuk sehingga dan termasuk Qmax (Q4) adalah ±3% (meter air panas).Aksesori
Setiap meter air mempunyai satu set gandingan pilihan: tiub 2pcs, 2pcs kacang dan gasket 2pcs.
DATA TEKNIKAL UTAMA Mengikut ISO4064 :2003 (Old Standard)
| Saiz | Inci | Kelas | Qmax | Qn | Qt | Qmin | Bacaan min | Bacaan maksimum |
| Aliran maksimum | Aliran nominal | Aliran peralihan | Aliran min | |||||
| DN(mm) | m³/h | L/h | m³ | |||||
| 15 | 1/2" | B | 3 | 1.5 | 120 | 30 | 0.00005 | 99999 |
| C | 22.5 | 15 | ||||||
| 20 | 3/4" | B | 5 | 2.5 | 200 | 50 | 0.00005 | 99999 |
| C | 37.5 | 25 | ||||||
| 25 | 1" | B | 7 | 3.5 | 280 | 70 | 0.00005 | 99999 |
| C | 52.5 | 35 | ||||||
DATA TEKNIKAL UTAMA Mengikut ISO4064:2014 (Piawaian Baru)
| DN | Mm | 15 | 20 | 25 |
| SAIZ | Inci | 1/2" | 3/4" | 1" |
| Q4(m³/h) | 3.125 | 5 | 7.875 | |
| Q3(m³/h) | 2.5 | 4 | 6.3 | |
| R80 | Q2(L/h) | 50 | 80 | 126 |
| Q1(L/h) | 31.25 | 50 | 78.75 | |
| R100 | Q2(L/h) | 40 | 64 | 100.8 |
| Q1(L/h) | 25 | 40 | 63 | |
| R125 | Q2(L/h) | 32 | 51.2 | 80.64 |
| Q1(L/h) | 20 | 32 | 50.4 | |
| R160 | Q2(L/h) | 25 | 40 | 63 |
| Q1(L/h) | 15.62 | 25 | 39.37 | |
| Bacaan Min(m³) | 0.00005 | 0.00005 | 0.00005 | |
| Bacaan max(m³) | 99999 | 99999 | 99999 | |
| Tekanan maksimum (MAP) | 16 | 16 | 16 | |
| Kehilangan max(ΔP) | 63 | 63 | 63 | |
| Suhu maksimum | T50 | T50 | T50 | |
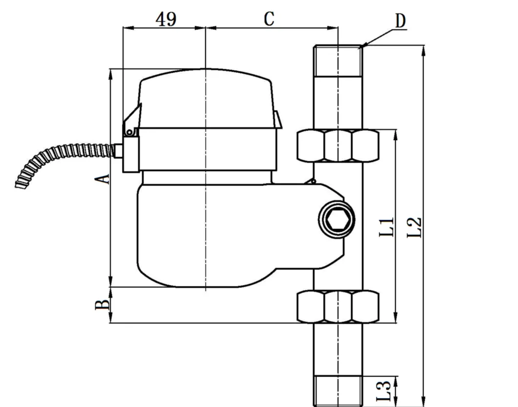
Dimensi dan Berat

| Saiz Meter | A | B | C | L1 | L2 | L3 | D |
| Mm | |||||||
| DN15 | 130 | 13 | 77.5 | 98 | 188 | 14 | G 3/4"B |
| DN20 | 135 | 17 | 77.5 | 106 | 206 | 16 | G 1"B |
| DN25 | 140 | 13 | 87.5 | 108 | 224 | 22 | G1 1/4"B |
Cool tags: meter halaju air digital, China, Pengilang, Pembekal, Kilang











